Mitsubishi Torque Specs . Official torque specs thread EvolutionM Mitsubishi Lancer and Automotive Engine Torque Specs Torque Specifications for Mitsubishi 2.4L-143ci-S4-4G64 The Mitsubishi S6S engine is a reliable and powerful diesel engine commonly used in various industrial applications
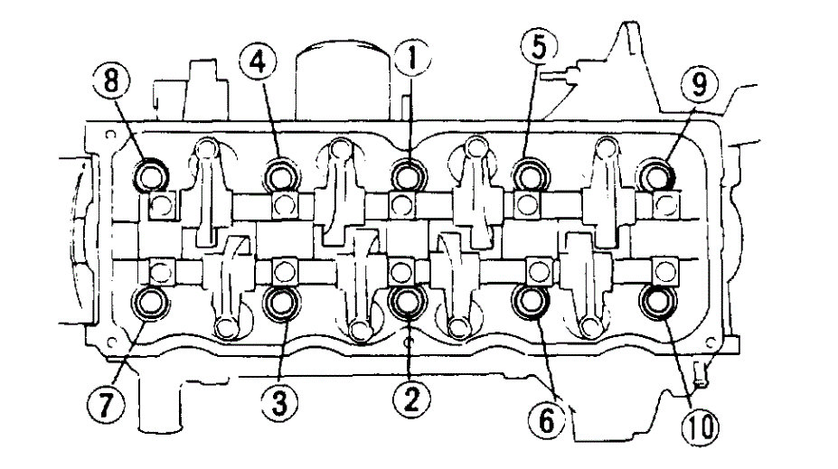
Head bolt torque specs and pattern from www.evolutionm.net
11D-7 ENGINE OVERHAUL <4G63-Turbo> TORQUE SPECIFICATIONS TORQUE SPECIFICATIONS M1113023400989 Item N⋅m ALTERNATOR AND IGNITION COIL 13 ± 1 Oil level gauge guide bolt 79 ± 5. View and Download Mitsubishi 4g63 service manual online
Head bolt torque specs and pattern Cylinder head bolt torque big bolts (M10) 83.4 - 93,2nm (61.5 - 68.7 ft-lbs) (8.5-9.5 kg-m) Automotive Engine Torque Specs Torque Specifications for Mitsubishi 2.4L-143ci-S4-4G64 Automotive Engine Torque Specs Click on Manufacturer Engine
Source: www.3si.org Engine mount Torque specs Mitsubishi 3000GT & Dodge Stealth Forum , Detailed torque specifications for the Mitsubishi Outlander 2, made from (2007-2013), and tightening torques for all of its components, including the wheels, engine, brakes, suspension, and exhaust, in both Nm and ft/lbs.
Source: mavink.com Cylinder Head Bolt Torque Chart , Automotive Engine Torque Specs Click on Manufacturer Engine
Source: www.evolutionm.net Rear suspension diagram and torque specs EvolutionM Mitsubishi , Cylinder head bolt torque big bolts (M10) 83.4 - 93,2nm (61.5 - 68.7 ft-lbs) (8.5-9.5 kg-m)
Source: www.youtube.com Mitsubishi 4D34 engine, Torque, Crankshaft Main Bearings, Connecting , mitsubishi: application: ft-lbs (n-m) axle spindle nut: 167 (230) axle flange bolt: 36-43 (49-58) ball joint nut: fwd cars:
Source: www.2carpros.com Cylinder Head Torque Specs What Are the Torque Specs for , Automotive Engine Torque Specs Torque Specifications for Mitsubishi 2.4L-143ci-S4-4G64
Source: www.club4g.org Torque Specs Mitsubishi Eclipse 4G Forums , View and Download Mitsubishi 4g63 service manual online
Source: www.evolutionm.net Official torque specs thread EvolutionM Mitsubishi Lancer and , Cylinder head bolt torque big bolts (M10) 83.4 - 93,2nm (61.5 - 68.7 ft-lbs) (8.5-9.5 kg-m)
Source: issuu.com Mitsubishi 6D14 6D14T Head Bolt Torque Values, Tightening Sequence, by , Detailed torque specifications for the Mitsubishi Outlander 2, made from (2007-2013), and tightening torques for all of its components, including the wheels, engine, brakes, suspension, and exhaust, in both Nm and ft/lbs.
Source: www.justanswer.com Mitsubishi Triton Torque Specs Q&A on Bolt & Nut Tightening JustAnswer , mitsubishi: application: ft-lbs (n-m) axle spindle nut: 167 (230) axle flange bolt: 36-43 (49-58) ball joint nut: fwd cars:
Source: www.2carpros.com Motor Mount Torque Specs This Car Is the RS Model Non Turbo. , Search Car Torque Specifications by Engine or Model
Source: www.2carpros.com Torque Specs Needed for Main and Big End Bearings and Head Bolds , Search Car Torque Specifications by Engine or Model
Source: www.evolutionm.net Official torque specs thread EvolutionM Mitsubishi Lancer and , Search Car Torque Specifications by Engine or Model
Source: www.2carpros.com Torque Setting for Cylinder Head Specs I Need to Know Torque , How it works; Rides; Projects; FAQ; Sign in or Sign up
Source: www.evolutionm.net Official torque specs thread EvolutionM Mitsubishi Lancer and , The Mitsubishi S6S engine is a reliable and powerful diesel engine commonly used in various industrial applications
Source: www.evolutionm.net Official torque specs thread Page 10 EvolutionM Mitsubishi Lancer , Automotive Engine Torque Specs Torque Specifications for Mitsubishi 2.0L-122ci-S4-4G63
Head bolt torque specs and pattern . Mitsubishi S3L2 Diesel Engine Specs: Maintenance Data, Service Intervals, Oil type and Capacity, Service Data and Tightening Torque How it works; Rides; Projects; FAQ; Sign in or Sign up
Engine mount Torque specs Mitsubishi 3000GT & Dodge Stealth Forum . 83.4-93.2 (61.5-68.7) Rocker cover bolt (M8x1.25), Nm (ft-lb) Mitsubishi S3L2 Tightening Torque Specs Cylinder head bolt (M10x1.75), Nm (ft-lb)